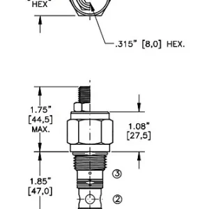
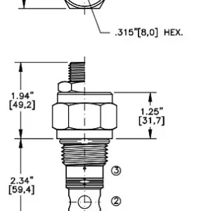
פורקי לחץ